一、TCP/IP四层模型介绍
OSI的七层协议体系结构的概念清楚,理论也比较完整,但它既复杂又不实用,ISO制定的OSI参考模型的过于庞大、复杂招致了许多批评。由技术人员自己开发的TCP/IP协议栈获得了更为广泛的应用。TCP/IP体系结构则不同,它现在已经得到了非常广泛的应用,TCP/IP是一个四层的体系结构。
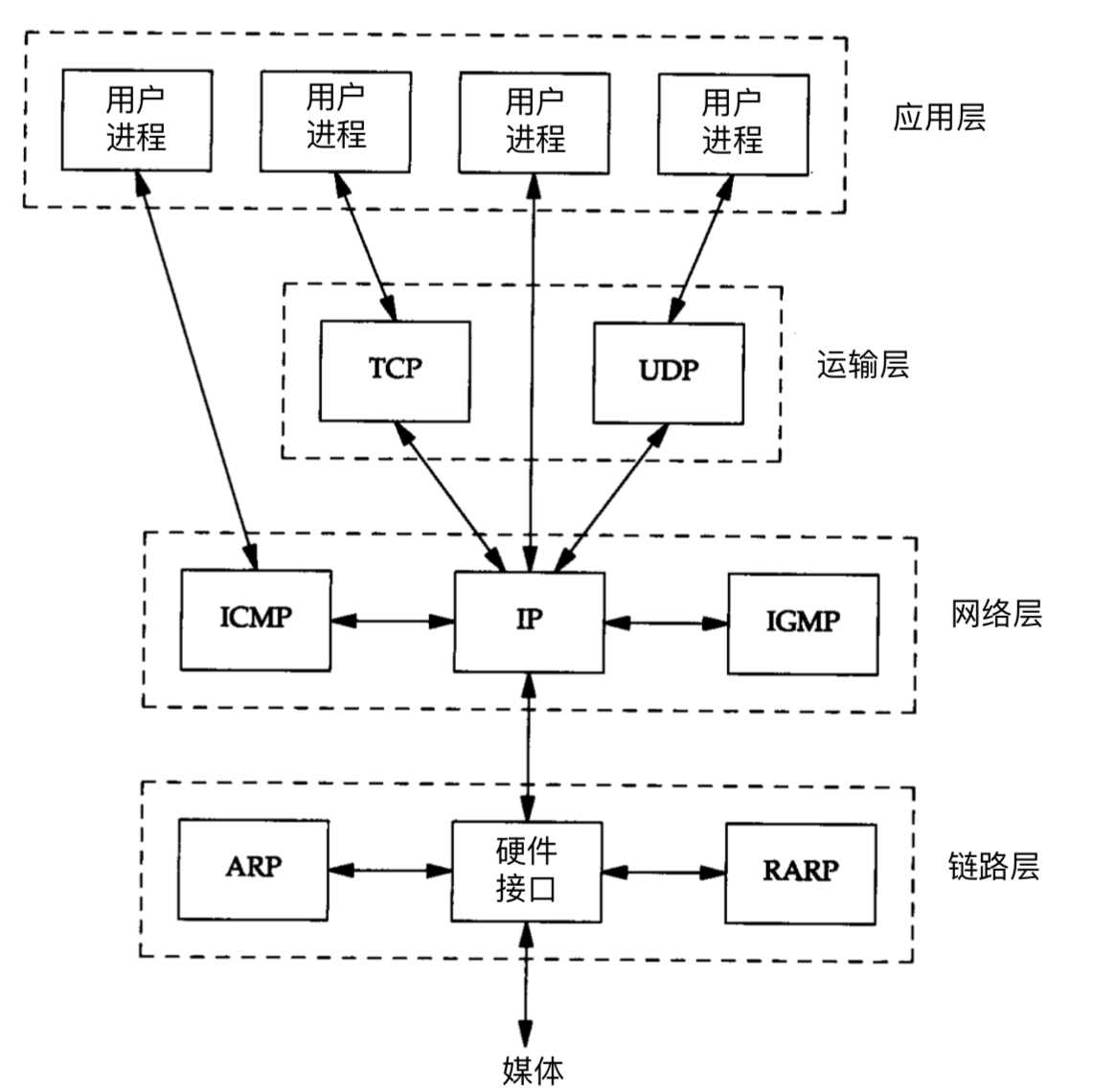
它包含应用层、运输层、网际层和网络接口层(用网际层这个名字是强调这一层是为了解决不同网络的互连问题 ),不过从实质来讲,TCP/IP只有最上面的三层,因为最下面的网络接口层基本上和一般的通信链路的功能上没有多大差别.
二、TCP/IP四层模型

每一层负责不同的功能:
链路层:有时也称作数据链路层或网络接口层,
通常包括操作系统中的设备驱动程序和计算机
中对应的网络接口卡。它们一起处理与电缆(或其他任何传输媒介)的物理接口细节。
网络层:有时也称作互联网层,处理分组在网络中的活动,例如分组的选路。在TCP/IP协议族中,网络层协议包括IP协议(网际协议),ICMP协议(Internet互联网控制报文协议 ,以及IGMP协议(Internet组管理协议 )。
传输层:主要为两台主机上的应用程序提供端到端的通信。在TCP/IP 协议族中 , 有两个互不相同的传输协议 : TCP (传输控制协议) 和UDP (用户数据报协议)。
TCP 为两台主机提供高可靠性的数据通信。它所做的工作包括把应用程序交给它的数据分 成合适的小块交给下面的网络层,确认接收到的分组,设置发送最后确认分组的超时时钟等。由于运输层提供了高可靠性的端到端的通信,因此应用层可以忽略所有这些细节。
而另一方面, UDP则为应用层提供一种非常简单的服务 。 它只是把称作数据报的分组从一台主机发送到另一台主机,但并不保证该数据报能到达另一端。任何必需的可靠 性必须由应用层来提供。 这两种运输层协议分别在不同的应用程序中有不同的用途,这一点将在后面看到。
应用层:负责处理特定的应用程序细节。几乎各种不同的 TCP/IP实现都会提供下面这些通用的应用程序:
Telnet 远程登录。
FTP 文件传输协议。
SMTP 简单邮件传送协议。
SNMP 简单网络管理协议。
TCP/IP协议簇

一次C/S通信
